丸帯:幅約70㎝、最も格調高いとされる帯。
袋帯:丸帯を簡略化した帯。格式上位。
名古屋帯:結びやすいように一部帯幅を半分にした帯。
角帯:幅約10㎝、男性用の帯。
兵児帯(へこおび):外出時以外の男性・子供用のふわふわ帯。現在は女性にも愛用される。
帯締め:帯がほどけないように、帯の上から締めるひも
帯留め:帯締めにつける装飾品
帯枕:帯山に立体感を出す土台
帯揚げ:帯枕の上にかけて用いる布
しごき:花嫁衣裳や七五三女児の礼装に用いる飾り帯
末広:扇子の別名で、慶事に用いられる
筥迫:花嫁衣裳や七五三女児の礼装に用いる装飾品(元は小さな化粧小物入れ)
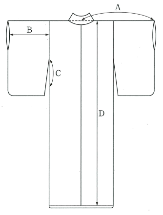
裄(ゆき):首後ろの中心から、袖の部分を含めた長さ
袖幅:着物の袖の横幅
身八つ口(みやつぐち):着物の脇の下、袖付けの下の部分にある開きのこと(男物には無い)
身丈:着物の縦の長さ
着丈:着物を着た状態での縦の長さ
身幅:着物を広げた状態の「おくみ幅+前幅+後ろ幅(✕2)」を足し合わせた長さ
繰越し:肩山から衿肩明きまでの長さ
袖付:着物の身頃と袖が縫い合わさっている部分。またその寸法
・女物の身丈は、着丈(首より下の長さ)よりも長く仕立てる
・男物の身丈は、着丈で仕立てる
・前身ごろを合わせたときに上になるほうの身ごろ(向かって右側)を
和装の基本的な着付け手順は、①肌着と補正、②長襦袢(じゅばん)、③着物、④帯を締めるの順で行います。具体的には、まず肌着と和装ブラジャーを着用して体型を整え、次に長襦袢を羽織って裾線を決めて腰紐で留め、衣紋を抜いておはしょりを整えます。その後、着物を着て裾と前幅を合わせ、腰紐で留めておはしょりを整えます。最後に、伊達締めを使って衿元を固定し、帯を結んで完成です。
※ 「衣紋を抜く」とは…衿を後ろに引いてうなじを美しく見せる技術
※ 「おはしょり」とは…身丈より長い部分を腰でたくし上げて折り返し、帯の下にできる重なりの部分
・ひも(腰ひも)は、右か左にずらして結び、結び目が体の中心でゴロゴロしないようにする。
・小柄な人の帯幅は狭くする。若い人の帯幅は広めにする。
◆ 振袖着付け
・体型補整では、胸のふくらみの位置を高めにするなどして若々しさを出すようにする。
・長襦袢の襟合わせの位置は、顔の中心線でのどのくぼみがやや隠れる程度にする。
・着物の着丈は、裾が床に触れるぐらいの位置にする。
・伊達締めは外から見えないようにする。
◆ 留袖着付け
・帯締めや帯揚げ、半襟、足袋は白色を用いる。

出典:公益財団法人 理容師美容師試験研修センター